Atlantic Pool Parts

by Jon
(Dalton, MA)

I need replacement footplates for an Atlantic pool, sold by NAMCO briefly about 7 years ago. On their website it lists the pool under specialty pools and is the Liberty Model. Any idea where to get them. I have contacted NAMCO and tried to reach Atlantic. Help.... I am missing 2 from a used pool that I just purchased.


Hi Jon

There is a comment lower on this page saying Atlantic was bought by Wilbar. You could try this email and see if it helps. mpwarranty@wilbarintl.com

Another option is a metal fabricating shop, these can easily be made.

Comments for Atlantic Pool Parts

Click here to add your own comments

Apr 15, 2020
Atlantic Pool J1000
by: Tim

I am looking for a 48 inch upright for a Atlantic J1000 above ground pool.

Click here to add your own comments

Join in and write your own page! It's easy to do. How? Simply click here to return to Above Ground Pool Parts.

Base Plate for Atlantic Pool Products Prestige Pool

by Julie
(Ganado TX)

We bought a used 18 ft Prestige pool, above ground pool. The lady we bought it from was moving and said she bought it from www.atlanticpoolproducts.com. I have called and they are in Canada. I have no model number or part number, so they say without that they can't help me. Now what? I'm only missing ONE!

Click here to post comments

Join in and write your own page! It's easy to do. How? Simply click here to return to Above Ground Pool Parts.

Need Base Plates For An Atlantic Pool

by David
(Bristol RI)

Atlantic Pool

Atlantic Pool

I was given a 15x30 pool and when I removed the pool the bottom ring and plates were rotted and was wondering if there is any where I can get what I need. The pool is about 8 yrs old and it,s an Atlantic pool. I am gonna send you the picture of it and hope you can help me locate a new ring and base plate for legs.

Click here to post comments

Join in and write your own page! It's easy to do. How? Simply click here to return to Above Ground Pool Parts.

Haugh's (Atlantic) Pool

by Pete
(Toronto, Canada)

I am looking for the top cap/ledge cover that covers the rail for my 24foot round pool. Anyone know who makes this type of pool? I got it with the house, but it's missing a couple of ledge covers. Other than that the pool is in excellent shape.

Thanks for any help

Top Plate

by: Mark

Any luck finding these parts?

Comments for Haugh's (Atlantic) Pool

Click here to add your own comments

May 15, 2022
J1000 top caps
by: Anonymous

It's now 2022, has anyone had any luck finding these J1000 top caps?

May 29, 2023
re-toprail caps
by: Nebraska J

try looking in at poolsuppliescanada.ca

Click here to add your own comments

Join in and write your own page! It's easy to do. How? Simply click here to return to Above Ground Pool Parts.

Atlantic Harvest Taupe Pool Parts

by Michelle
(Auburn)

I have a 24 X 52 round pool which I bought in 2007. It is an Atlantic Harvest taupe colored pool. I have several top cap/connectors which are broken. I am not sure where I can find the replacement parts. The model number was ATLJ42452. I think the manufacturer was Wilbar.

Comments for Atlantic Harvest Taupe Pool Parts

Click here to add your own comments

Sep 17, 2014
Wilbar pool parts
by: Anonymous

Wilbar has bought 4 pool companies including Sharkline. To get parts from any of these companies just email mpwarranty@wilbarintl.com. Send them pics of the parts and the manufacturer name and model name of your pool.

Click here to add your own comments

Join in and write your own page! It's easy to do. How? Simply click here to return to Above Ground Pool Parts.

Atlantic Espirit

by bob
(Fort Ann, NY)

Atlantic Caps

Atlantic Caps

Looking for Atlantic top caps J1000.

Comments for Atlantic Espirit

Click here to add your own comments

Jul 02, 2020
Atlantic Top Caps
by: Anonymous

Hi, I"m looking for Atlantic top caps #J1000. Any idea on where to find them?

Click here to add your own comments

Join in and write your own page! It's easy to do. How? Simply click here to return to Above Ground Pool Parts.

18x33 Oval Pool Skimmer

by Connie
(Danville wv )

Pool Skimmer

Pool Skimmer

I have an 18x33 above ground pool we are need a replacement skimmer our pool is 20 years old it is the 16 screw skimmer!! Atlantic is the pool

Comments for 18x33 Oval Pool Skimmer

Click here to add your own comments

Apr 25, 2021
Litehouse Rapid Flow skimmer
by: Anonymous

You have a Litehouse Rapid Flow that is a custom (odd) screw pattern used by Litehouse Pools between 2000 and 2010.

litehouse.com/shop/skimmer-rapid-flow/

Click here to add your own comments

Join in and write your own page! It's easy to do. How? Simply click here to return to Above Ground Pool Parts.

Atlantic Pool Manual/ Parts

by Jill
(Toronto )

We were given an Atlantic 12x24 pool but I can not find the name of the model on the parts anywhere... is it printed somewhere on the actual pool? I need the name to find the proper manual also it did not come with pressure plates... should it have?? And if so could I purchase them somewhere?

Hi Jill

You do need pressure plates, very important, but they can be about any flat steel. I have even cut up an old pool sidewall to fit along the sides of an oval pool.

Click here to post comments

Join in and write your own page! It's easy to do. How? Simply click here to return to Above Ground Pool Parts.

In Need of a Bottom Track

by Beth
(Zionsville,Pa)

Hello. I have an Atlantic J1000 pool that is in need of the bottom track. Do you know where to get that? Inyo pools, REc warehouse, and Lowcy pools are all out. I don’t know where else to look. Thank you, Beth

Click here to post comments

Join in and write your own page! It's easy to do. How? Simply click here to return to Above Ground Pool Parts.

Top Ledges or Rails

by lino mirolla
(laval, canada)

Atlantic Top Rails

Atlantic Top Rails

Hi. I have an 18 foot above ground pool and some of my top rails are starting to get rusted. I think the model is Huron or algrufus not sure. The rails are 56 7/8 " long x 8 1/8 wide with 3 slots on either side. The pool is by Atlantic, purchased in 2006.

Click here to post comments

Join in and write your own page! It's easy to do. How? Simply click here to return to Above Ground Pool Parts.

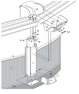
Atlantic Pool Top Rail

by Ed
(Swansea, MA)

Pool Diagram

Pool Diagram

Hi, I have a 27' Atlantic Stonehenge above ground pool I bought in 2008. I need to purchase some top rail replacements. Do you carry top rails for this pool in grey?
I have attached pictures to help identify the top rails I need.
Thanks, Ed Rheaume

Comments for Atlantic Pool Top Rail

Click here to add your own comments

Apr 09, 2023
Top ledges
by: James

I also have a 27'Stonehenge by Atlantic that came with our house. I need to replace all 18 top ledges. They are badly corroded. The wall uprights upper and lower caps are in good shape. Where can I purchase replacement ledges?

Click here to add your own comments

Join in and write your own page! It's easy to do. How? Simply click here to return to Above Ground Pool Parts.

Looking for Top Ledges for my 18ft. Atlantic Trendium Pool TL10033

by Maurice
(Toronto, Canada)

 Atlantic Trendium Top Rail

Atlantic Trendium Top Rail

Going crazy trying to find a store/company that can get me top ledges my Atlantic pool. Trendium Pool Products TL10033 - T.Rail 8" Generation Pewter Grey T 56-27/32" For Generation.
I'm in Toronto, Canada.
Thanks!

Click here to post comments

Join in and write your own page! It's easy to do. How? Simply click here to return to Above Ground Pool Parts.

Atlantic J4000 21 ft

by Lisa
(08759)

Atlantic Bottom Rail

Atlantic Bottom Rail

Looking for bottom rails and base plates for Atlantic J4000 21 ft.

Click here to post comments

Join in and write your own page! It's easy to do. How? Simply click here to return to Above Ground Pool Parts.

Car Hit Side Post of 15x24 Atlantic Pool

by Mike Donofrio
(Toronto )

Damaged Pool

Damaged Pool

A car went through our fence and hit the side support beam of the pool. This then bent the post in. Can I straighten this post? It's thick metal.

Hi Mike It looks like you are going to need replacement parts.

Click here to post comments

Join in and write your own page! It's easy to do. How? Simply click here to return to Above Ground Pool Parts.